数ブラウズ:1150 著者:サイトエディタ 公開された: 2022-02-05 起源:パワード
動力電池のコストは電気自動車のコストの 40% 以上を占めます。電源バッテリーのコストを削減することは、バッテリーサプライヤーや OEM にとって常に重要な課題の 1 つです。動力電池のコストを下げるためには「モジュール」のコストを下げることが主な手段の一つですが、現在この手段はボトルネック時期に達しています。
バッテリーのコストを削減し、エネルギー密度と航続距離を増やすにはどうすればよいでしょうか? CTP テクノロジーは現時点では最良の選択かもしれません。
CTP テクノロジーはセル トゥ パックと呼ばれ、モジュール フリー テクノロジーとしても知られています。 2 つの異なる技術的ルートがあります。1 つはモジュールを完全にキャンセルすることです。もう 1 つは、小さなモジュールを大きなモジュールに統合することです。
CTP技術
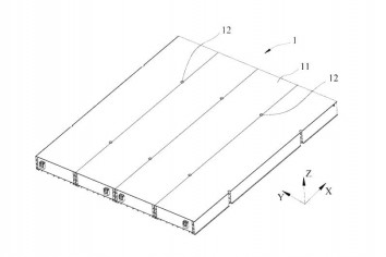
バッテリー パックは、少なくとも 2 つの大きなモジュールで構成されています (次の図を参照)。各モジュールは固定部品を介してバッテリートレイに接続されます。最後に、バッテリー パックは取り付けビームを介してさまざまな車両モデルに固定されます。

CTPテクノロジーバッテリーパックの概略図

CTP技術バッテリーモジュールの分解図
上の写真によると、大きなモジュールが多数のプラスチック製放熱板によって小さな空間に分割されています。正方形のセルは、コンピューターのハードディスクのようにこの小さなスペースに挿入できます。各セルの側面にも熱伝導性シリコンパッドが貼り付けられており、セルの幅方向に沿ったヒートシンクには放熱チャネルがあり、外部の冷却パイプラインに直接接続できます。
関連データによると、これにより部品の約 40% を削減できるとのことです。さらに、一定のバッテリー容量の場合、CTP テクノロジーを使用したバッテリーパックの体積利用率も 15% ~ 20% 向上しました。比エネルギー密度は200wh / kgに達します。